ボールベアリング(転がり玉軸受)に予圧を加える目的は、回転軸の振れ精度向上や振動・騒音の低減ですが、予圧量や予圧方法を適切に選択しないと、寿命・音響・発熱等のボールベアリングの性能低下をまねいたり、かえって振動が大きくなることもあります。そのため、使用用途に合わせた適切な予圧量と予圧方法を選ぶことが重要になります。
ここでは、用途に応じた最適な予圧量と予圧方法の選定ポイントについて解説します。
予圧の目的
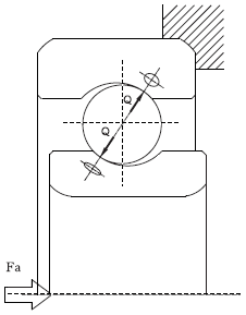
モータ等でボールベアリングを使用する場合、内部すきまがあると玉の遊びが大きく、ボールベアリングの剛性も低いため、軸の回転振動が大きくなります。図12-1に示すように予めアキシアル方向に荷重(Fa)を加えて、内部のすきまを「0」にします。この軸方向に予め加える荷重を「予圧」と言い、予圧を加えることで振動低減や音響性能の改善が期待できます。
しかし、予圧は適当に加えておけば良いものではなく、ボールベアリングの要求性能に対する適切な予圧の量があります。
予圧量が大きすぎると、剛性は上がりますが、騒音の増大や早期寿命の原因にもなります。 圧量が小さすぎると、振動の発生が抑えられず、剛性も不十分で フレッチング等の発生原因となります。 したがって、ボールベアリングを使用する上で、予圧の設定は非常に重要な要素となります。
図12-1
適正予圧
ボールベアリングに加わる荷重で予圧による荷重が支配的な場合、音響寿命を目安とした時の予圧量設定は、ミネベアミツミでは、「面圧」計算をして適正予圧を推奨しています。
ボールベアリングに予圧(Fa)が加わったとき、玉と軌道溝の接触部が弾性変形することで小さな楕円状の接触面が生じます。面圧とは、玉と軌道溝の接触部に発生する垂直な分力(転動体荷重:Q)を接触楕円の面積(S)で除した値を言います。図12-1において、玉と軌道溝の接触部に発生する接触楕円の面積(S)は、円周率をπ、長軸半径をa、短軸半径をbとすると
S=πab(mm2)となります。
また、平均面圧をPとすると
P=Q/S(MPa)となります。
目安としては以下を参照してください。
10000時間を超える音響寿命
平均面圧Pが800MPa以下となる予圧量
5000~10000時間の音響寿命(一般商品)
平均面圧Pが1000MPa程度となる予圧量
5000時間以下の音響寿命(剛性重視)
平均面圧Pが1500MPa程度となる予圧量
動定格荷重(Cr)から簡易的に見た場合の予圧量設定は、以下のようになります。
10000時間超寿命 :0.5/100・Cr~ 1/100・Cr
5000~10000時間寿命 : 1/100・Cr~1.5/100・Cr
5000時間以下寿命 :1.5/100・Cr~ 2/100・Cr
最大許容荷重
高炭素クロム鋼のボールベアリングの場合、平均面圧が2700MPaを超えると、塑性変形領域に入ると言われています。よって、一時的な負荷であっても、平均面圧が2700MPaを超えないことが必要で、実使用上の経験から平均面圧1600MPa以下となる荷重に抑えることを推奨します。なお、予圧以外に軸へ加わる荷重でも、面圧は発生しますので、予圧による荷重以外も考慮する必要があります。
予圧と剛性
予圧方法
予圧方法としては、「定位置予圧」(図12-2)と「定圧予圧」(図12-3)があります。
定位置予圧
図12-2 定位置予圧
部品間の位置関係を基に予圧を加える方法です。構成部品が単純であり、比較的に剛性が高いという利点があります。ただし、温度変化により膨張・収縮が起こり予圧量も変化する可能性があります。また、構成部品が摩耗することで予圧量が変化し、予圧抜けを起こす可能性もあります。
定圧予圧

図12-3 定圧予圧
コイルばね、ウェーブワッシャ等を使い予圧を加える構造です。温度に対する予圧量の変化が少ない利点がありますが、構成部品が増えることや、比較的に剛性が低いという欠点があります。
予圧方向
予圧方向としては、「正面組み合せ(DF)」(図12-4)と「背面組み合せ(DB)」(図12-5)があります。
正面組み合せ(DF)
図12-4 正面組み合せ(DF)
接触角の交点が内側に向いているため、剛性には不利になりますが、取付け誤差に対する許容量は大きくなります。用途の構造や組立て工程の簡略化を考慮し、正面組み合せを選択する場合があります
背面組み合せ(DB)
図12-5 背面組み合せ(DB)
接触角の交点が外側に開いているため、剛性が高くなります。剛性の向上には部品の精度も同時に管理する必要があります。
なお、弊社ではボールベアリングを含むサブユニット品につきましても、部品加工・調達、及び弊社ノウハウにより予圧を加えた組立の対応もしております。